UHIC
Ultra-Heavy Interactions Collaboration (UHIC)
UHIC is a collaboration of groups at Caltech, Washington University, and the University of Minnesota. We investigate charge-changing peripheral collisions of ultra-heavy nuclei (Z > 40) at ~ 1 - 10 GeV/nucleon with targets of a variety of masses from H (Z = 1) to Pb (Z = 92). Our instruments measure the charge of the largest fragments of the beam particles from accelerator beams. Our motivations include application of the cross sections for charge-changing interactions to cosmic-ray propagation, and investigation of the role of electromagnetic forces in the nuclear physics of peripheral collisions.
UHIC grew out of an earlier collaboration of the same institutions on the High-Energy Astrophysical Observatory (HEAO) C3 Heavy Nuclei Experiment (HNE). For several years after the reentry of HEAO in 1982, the HNE collaboration continued to measure the response of similar instruments and the cross sections for charge-changing interactions of heavy nuclei at the Lawrence Berkeley Laboratories' Bevalac particle accelerator. Among the results from these experiments was an apparent strong energy dependence in the cross sections.
When ultra-heavy beams became available at the Brookhaven National Laboratory Alternating Gradient Synchrotron (AGS), UHIC was formed to exploit the previously unavailable energy range of several GeV/nuc. Results from fragmentation of a 10.6 GeV/nuc Au (Z = 79) beam are reported in Geer et al. We have just completed (January 1996) a very successful run at the AGS using Au beams at closely spaced energies from 0.9 GeV/nuc to 4 GeV/nuc. This run also provided an opportunity to test some scintillator materials for the TIGER project.
UHIC Co-Investigators and Institutions
- California Institute of Technology
- University of Minnesota
- C. Jake Waddington, Principal Investigator
- Louisiana State University
- Washington University
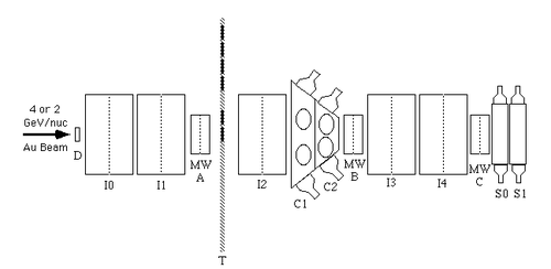
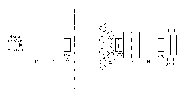
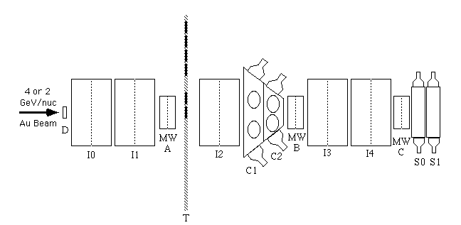
Experiment Configuration

The UHIC experiment configuration for the 1996 Brookhaven AGS run. The ion chambers are designated with I#, the Cherenkov detectors with C#, the multiwire proportional position-sensitive counters with MW, and the TIGER test scintillator instruments with S#. The position of the Pb degraders used to lower the energy of the beam in some runs is designated with D, and the position of the automatic target changer is designated with T. In the 1996 BNL AGS run, we investigated interactions of 0.9 - 4 GeV/nuc gold in CH2 and C targets (from which we can obtain H cross sections), as well as Al, Cu, Sn, and Pb targets.
The analysis of the data from this run is being done at the University of Minnesota. We expect the final cross section measurements to be ready for the 1998 APS Spring Meeting in Columbus, Ohio. A paper will be submitted to Physical Review C. Further results on parametric fits for charge-changing cross sections and on the effects of the new measurements on propagation calculations will follow.
Other Information
Here is a list of publications from HEAO3 HNE and UHIC.
The Particle Data Group pages contain many links to data, experiments, and particle information of interest.
This page created by jrc.